Úvod / Články

Jak si vyrobit detektor kovů

07. 04. 2003 Autor: candies  Další příspěvky autora 8059× 2
Tak jsem našel na internetu skvělý plánek na detektor kovů, pokud jste alespoň trošku kutilové, tak bych ani minutu neváhal a běžel pro pájku :)

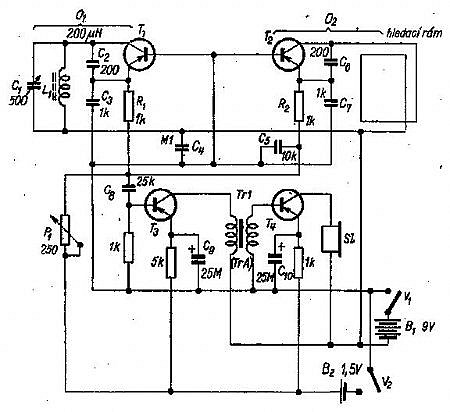
Jedná se o dva oscilátory laděné na přibližně stejnou frekvenci +- 500kHz. Funkce detektoru je jednoduchá- Jeden oscilátor běží stále na stejné frekvenci. Druhý je rozlaďovaný cívkou hledacího rámu. Tato cívka má průměr 20cm a 10-20 závitů. Pokud si chceme usnadnit práci je možno vynechat zesilovač a zapojit sluchátka mezi emitory tranzistorů. Tím se však sníží citlivost detektoru.

L1.... Nutno dosadit podle součástek
T1-T4..... KFY 16 321 ;BC 557 ; BC 559 nebo jiný PNP



Doufám, že se mi autor plánku nepomstí :)

 Autor: candies

Komentáře

Dragon515

16. 09. 2013, 23:19

Ag kov

16. 10. 2024, 17:55

Ale pomstí:smile: